E-Mail: info@chinathinkwell.com     Tel: +86-532-66968791
Professional Manufacturer in Forging Parts,Offroad Recovery Gear Accessories since 2011.
English
Home » News » Company News » Specification Parameters of Various Hitch Tightener for ThinkWell

Specification Parameters of Various Hitch Tightener for ThinkWell

Views: 745     Author: Thinkwell     Publish Time: 2025-11-17      Origin: Hitch Tightener

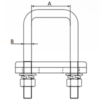
Hitch Tightener

TKCK-1024-001

Hitch Tightener Hitch Tightener
Specifications 2"
Size 55.5mm(A);12mm(B)
Weight

695g

Surface Powder Coating

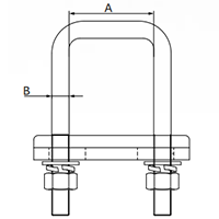
Hitch Tightener

TKCK-1024-002

Hitch Tightener Hitch Tightener
Specifications 2"
Size 55.5mm(A);12mm(B)
Weight 679g
Surface Electroplating

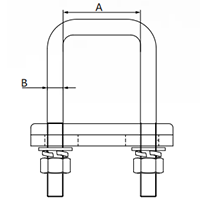
Hitch Tightener

TKCK-1024-003

Hitch Tightener Hitch Tightener
Specifications 2"
Size 55.5mm(A);12mm(B)
Weight 753g
Meterial Stainless Steel

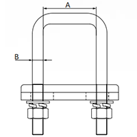
Hitch Tightener

TKCK-1024-004

Hitch Tightener Hitch Tightener
Specifications 2"
Size 53.6mm(A);10mm(B)
Weight 753g
Surface Electroplating


Please fill in your request
Please fill in your request

Quick Links

Call Us :
+86-0532-66968791
Email :
info@chinathinkwell.com
victor@chinathinkwell.com
NO.88, ChunyangRoad,
Chengyang District, Qingdao, Shandong, China
 Copyrights 2022 Qingdao Thinkwell Hardware & Machinery Co., Ltd. All rights reserved. Sitemap